200LR - Elbow connector, EPDM, Interface A

Description

Description

Description

Application
Suitable for installation on polymeric insulated medium voltage cables with extruded easy strip conductive screen or bonded extruded conductive screen. For use with other cable types please contact our sales representative.

Technical characteristics
The thick conductive EPDM jacket provides a total safe to touch screen to ensure safety.
New, compact design.
Self-locking bolted contact with anti-twist system.
Each separable connector is tested for AC withstand and partial discharge prior to leaving the factory.

Specifications and standards
The elbow connector 200LR/G meets the requirements of CENELEC HD 629.1.

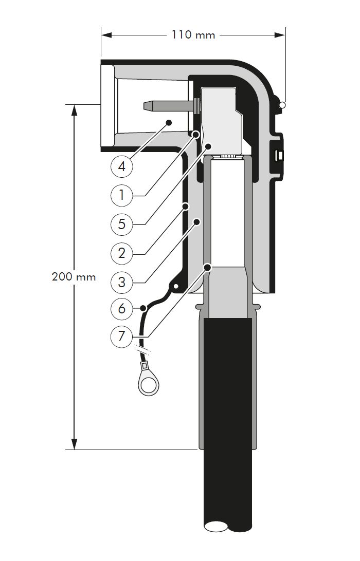
Drawing 200LR

Design 200LR

1. Conductive EPDM insert with integrated anti-twist and locking system
2. Conductive EPDM jacket
3. Insulating EPDM layer between insert and jacket (with voltage detection point)
4. Type A interface as described by CENELEC EN 50180 and 50181
5. Bolted conductor contact
6. Earthing lead
7. Cable reducer

Technical data 200LR

Kit contents 200LR

The complete (K)200LR/G elbow connector kit comprises 3 x the following components.

The kit also comprises:
+ installation instructions
+ silicone grease
+ wipers
+ screen wire cable lugs

Kit 200LR

Selection table 200LR

Ordering instructions 200LR

Indicate the part number when ordering (see table).

Order example:
1 elbow connector kit for 12/20 kV, for 35-95 mm² with mechanical conductor contact.

Order according to the table:
1 kit – K200LR/G with part number 501471.

Note:
The assignment only applies to XLPE-insulated cables (dimensions according to DIN VDE 0276-620) with extruded conductive screen and stranded conductors. For use with other cable designs contact our sales representative.

Pictograms 200LR

Technical instructions and application information (accessories)

The data given were determined diligently, but do not release our customers of the duty to carry out tests themselves in order to check the suitability of the products delivered by us for the intended use. We reserve the right to modify characteristic and performance data according to the present state of technology. Processing and use of the products cannot be controlled by us and are therefore exclusively in your field of responsibility.

Our products meet the VDE standards respectively correspond to DIN pages and IEC recommendations.

Attention: Before first design in please contact manufacturer.

The products, described in this catalogue, are designed for connection of bare energy cable conductors (Class 1 & 2) with description of round solid (RE), round stranded (RM), as well as sector solid (SE), sector stranded (SM) and round stranded compacted (RMV) for conductor temperatures up to 90 °C. All conductor filling materials like tapes, yarn, powder or similar need to be completely removed before the installation. A check on basis of the actual existing conductor dimensions by the user is indispensable. This applies also for the application of Class 6 conductors or other special conductor types.

Impact wrenches have to be approved by Nexans! Depending on different conductor material or conductor type, indicated values may differ from test values acc. to IEC 61238-1. The use of fine stranded conductors has to be approved by Nexans Power Accessories Germany GmbH.

Our responsibilities are only those listed in the latest edition of “General terms and conditions for the supply of products and services of the electrical and electronics industry”. We can provide a copy on request.

Our products are mainly delivered in cartons. We only use package materials able to be recycled due to the latest packing system. Collapsible cardboard boxes are not taken back. Please try to order complete standard packages.

Reprinting, even partial, only with special allowance. We reserve the right to alter or modify the characteristics described. Illustrations and drawings may only show a close reflection and are not decisive. The weights are approximate and include the carton package. This catalogue substitutes all former editions. Types or versions not part of the catalogue are available on request.

Hof, May 2021

Resources

Resources

Contact us

Topics on which you wish to get more informations:

Required fields*

Please check your entry and try again.

An email address must contain a single @

Personal data protector

You have the right to object to the processing of your personal data and/or their use for direct marketing or commercial purposes

Thank you!

Thanks for contacting us. We will be in touch with you shortly.

Error

An error occurred. Please try again.

Close

Contact us

Required fields*

Please check your entry and try again.

An email address must contain a single @

Personal data protector

You have the right to object to the processing of your personal data and/or their use for direct marketing or commercial purposes

Thank you!

Thanks for contacting us. We will be in touch with you shortly.

Error

An error occurred. Please try again.

Close